Typ 06011 - gasdicht
calcPageSize())" loading="lazy" />Das im Bild dargestellte Produkt kann vom verkauften Produkt abweichen.
Verwendungsbereich
Verwendungsbereich:
Vorgesehen als Sicherheitseinrichtung zur Absicherung von Rohrleitungen und Anlagenteilen gegen thermische
Expansion. Zugelassen für Luftgase, Dämpfe und tiefkalte verflüssigte Gase inkl. LNG und Wasserstoff.
Zulässige Betriebstemperatur: -255°C (18K) bis +65°C (338K), geeignet für waagerechten Einbau
Zertifikate
Transportable Pressure Equipment Regulation 2009 (TPER 2009)
ABS (Class Rules)
Livebestand: Nicht auf Lager pcs (AUF LAGER)
| Anwendung | H2, LNG, Luftgase |
|---|---|
| Anwendungsbereich | Herstellung, Transport, Lagerung, Anwendung, Betankung, Prozesse |
| Artikelnummer | CR_06011 |

Werkstoffe |
DIN EN |
ASME/ASTM |
|
|---|---|---|---|
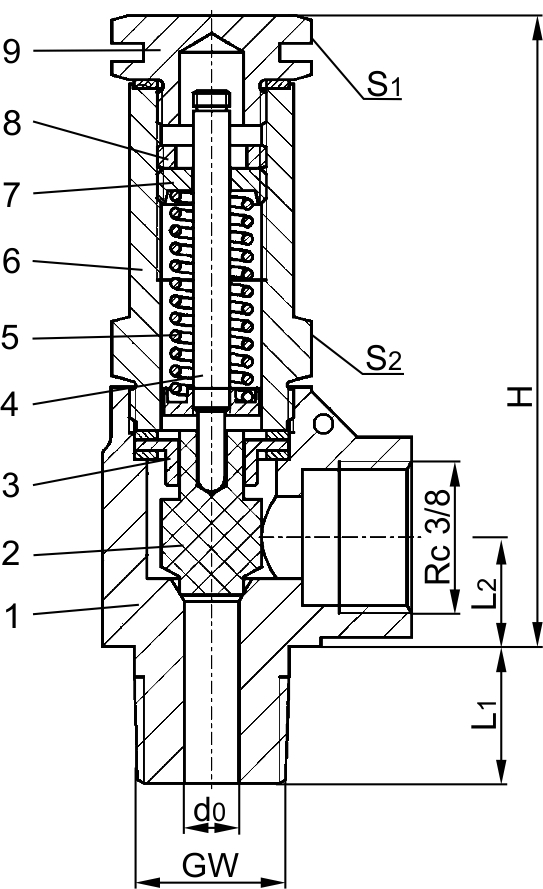
1 |
Gehäuse |
1.4408 |
A 351 CF8M |
2 |
Teller |
PTFE / Elektrocarbon (25%) |
|
3 |
Führungsscheibe |
1.4301 |
A 276 Grade 304 |
4 |
Spindel |
1.4301 |
A 276 Grade 304 |
5 |
Feder |
1.4571 |
A 313 Grade 316Ti |
6 |
Haube |
1.4301 |
A 276 Grade 304 |
7 |
Federspanner |
1.4305 |
A 276 Grade 303 |
8 |
Gewindering |
1.4305 |
A 276 Grade 303 |
9 |
Verschlussschraube |
1.4301 |
A 276 Grade 304 |
Typ 06011 |
Technische Daten |
|||
|---|---|---|---|---|
Nenngröße |
GW |
1/4 |
3/8 |
1/2 |
Sitzdurchmesser |
d0 |
6,0 |
6,0 |
6,0 |
Größenschlüssel |
.X. |
0200 |
0300 |
0400 |
Ansprechdruck |
bar |
5,0-55,0 |
5,0-55,0 |
5,0-55,0 |
Höhe |
H |
70 |
70 |
70 |
Länge |
L1 |
13 |
15 |
17 |
Länge |
L2 |
13 |
13 |
13 |
Schlüsselweite |
S1 |
19 |
19 |
19 |
Schlüsselweite |
S2 |
19 |
19 |
19 |
Gewicht |
ca. kg |
0,18 |
0,195 |
0,21 |
Ausflussziffer |
αw |
0,09 |
0,09 |
0,09 |
Produktvarianten
Filtern Sie unser Produkt nach spezifischen Attributen| Name | Anschlussart Eintritt | Anschlussart Austritt | Anschlussdimension Eintritt | Anschlussdimension Austritt | Link zum Produkt |
|---|
- ...
- ...