Typ 06417
calcPageSize())" loading="lazy" />Das im Bild dargestellte Produkt kann vom verkauften Produkt abweichen.
Verwendungsbereich
Verwendungsbereich:
Vorgesehen als Sicherheitseinrichtung gegen unzulässige Drucküberschreitung in ortsfesten und beweglichen
Druckbehältern und Druckgasbehältern. Zugelassen für Luftgase, Dämpfe und tiefkalte verflüssigte Gase inkl. LNG.
Zulässige Betriebstemperatur: -196°C (77K) bis +185°C (458K)
Beschreibung
Tieftemperatur-Eck-Sicherheitsventile aus Bronze, PN40, bauteilgeprüft TÜV-SV.780. D/G
Normal-Sicherheitsventil (0,2 - 25,0 bar)
Abschlusskörper metallisch dichtend, geschlossene Federhaube, mit Anlüftevorrichtung
"¦öl- und fettfrei für Sauerstoff¦"
Artikel-Nr. 06417.X.0000
Eintritt: Innengewinde Typ G nach ISO 228/1
Austritt: Innengewinde Typ G nach ISO 228/1
Verfügbare Sonderausführungen - nur auf Anfrage:
· außenliegende Teile vernickelt · mit montiertem Bogen am Austritt
· mit zusätzlicher Entleerungsbohrung im Austrittskörper (1)
Zertifikate
Transportable Pressure Equipment Regulation 2009 (TPER 2009)
ABS (Class Rules)
Konformitätserklärungen
Transportable Pressure Equipment Directive (2010/35/EU)
Pressure Equipment Directive (2014/68/EU)
Livebestand: Nicht auf Lager pcs (AUF LAGER)
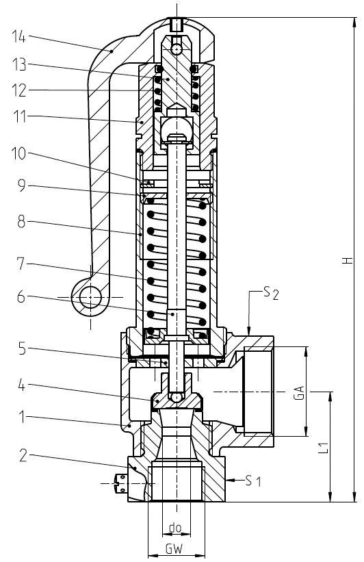
| Type (Baureihe) | 06417 |
|---|---|
| Anwendung | LNG, Luftgase |
| Anwendungsbereich | Transport, Lagerung, Betankung, Prozesse |
| Artikelnummer | CR_06417 |

Werkstoffe |
DIN EN |
ASME/ASTM |
|
|---|---|---|---|
1 |
Austrittskörper |
CC491K |
B 62 UNS C83600 |
2 |
Eintrittskörper |
1.4301 |
A 276 Grade 304 |
4 |
Teller |
1.4541 |
A 276 Grade 321 |
5 |
Führungsscheibe |
CW453K |
B 103 UNS C52100 |
6 |
Spindel |
CW453K |
B 103 UNS C52100 |
7 |
Feder |
1.4571 |
A 313 Grade 316Ti |
8 |
Haube |
1.4308 |
A 351 CF 8 |
9 |
Federspanner |
CW614N |
B 283 UNS C38500 |
10 |
Gewindering |
CW614N |
B 283 UNS C38500 |
11 |
Anlüfthaube |
CW614N |
B 283 UNS C38500 |
12 |
Feder |
1.4571 |
A 276 Grade 316Ti |
13 |
Anlüftzapfen |
CW614N |
B 283 UNS C38500 |
14 |
Anlüfthebel |
1.4408 |
A 351 CF8M |
Typ 06417 |
Technische Daten |
|
|---|---|---|
Nenngröße |
GW |
1/2 |
Sitzdurchmesser |
d0 |
10,5 |
Größenschlüssel |
.X. |
1004 |
Ansprechdruck |
bar |
0,2-25,0 |
Austritt |
GA |
1 |
Höhe |
H |
180 |
Länge |
L1 |
41 |
Schlüsselweite |
S1 |
30 |
Schlüsselweite |
S2 |
41 |
Gewicht |
ca. kg |
0,99 |
Ausflussziffer ab 3,0 bar |
αw |
0,67 |
Produktvarianten
Filtern Sie unser Produkt nach spezifischen Attributen| Name | Anschlussart Eintritt | Anschlussart Austritt | Anschlussdimension Eintritt | Anschlussdimension Austritt | Link zum Produkt |
|---|
- ...
- ...
Ausgewähltes Portfolio
Die hier dargestellten Produkte zeigen nur eine Auswahl unseres Portfolios.
Wir bieten zahlreiche weitere Varianten sowie kundenspezifische Lösungen an.
Sie suchen eine bestimmte Konfiguration, Größe oder Spezifikation?