Typ 07015 - Füllmodul
calcPageSize())" loading="lazy" />Das im Bild dargestellte Produkt kann vom verkauften Produkt abweichen.
Verwendungsbereich
Verwendungsbereich:
Zugelassen für Luftgase, Dämpfe und tiefkalte verflüssigte Gase inkl. LNG.
Zulässige Betriebstemperaturen: -196°C (77K) bis +120°C (393K)
Zertifikate
Canadian Registration Number (CRN)
Livebestand: Nicht auf Lager pcs (AUF LAGER)
| Anwendung | LNG, Luftgase |
|---|---|
| Anwendungsbereich | Transport, Lagerung, Betankung |
| Artikelnummer | CR_07015_1 |

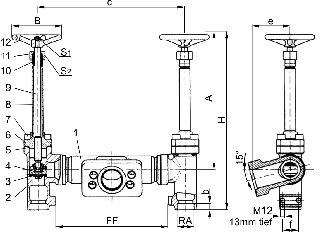
Werkstoffe |
DIN EN |
ASTM |
|
|---|---|---|---|
1 |
Füllgehäuse |
1.4308 |
A 351 CF8 |
2 |
Gehäuse |
1.4308 |
A 351 CF8 |
3 |
Dichtung |
PTFE / Elektrocarbon (25%) |
|
4 |
Abschlusskörper |
CW614N |
B 283 UNS C38500 |
5 |
Oberteildichtung |
PTFE |
|
6 |
Oberteilflansch |
CC493K |
B 505 UNS C93200 |
7 |
Oberteilschrauben |
1.4301/A2 |
A 194 B8 |
8 |
Verlängerungsrohr |
1.4541 |
A 213 TP 321 |
9 |
Spindel |
1.4301 |
A 276 Grade 304 |
10 |
Stopfbuchspackung |
Graphit / PTFE |
|
11 |
Stopfbuchsmutter |
CW614N |
B 283 UNS C38500 |
12 |
Handrad |
Aluminium Legierung |
Typ 07015 - Standardausführung |
Technische Daten |
||
|---|---|---|---|
Nenngröße |
DN |
25 |
40 |
Größenschlüssel |
.X. |
2533 |
4048 |
Baulänge |
FF |
225 |
225 |
äußerer Rohr-Ø ISO 1127 |
RA |
33,7 |
48,3 |
äußerer Rohr-Ø ASTM A312 |
RA |
33,40 |
48,26 |
Muffentiefe |
b |
13 |
13 |
Höhe |
A |
270 |
270 |
Höhe |
H |
350 |
350 |
Länge |
c |
295 |
301 |
Länge |
e |
76 |
76 |
Länge |
f |
32 |
32 |
Handrad-Ø |
B |
100 |
125 |
Schlüsselweite |
S1 |
7 |
10 |
Schlüsselweite |
S2 |
30 |
36 |
Gewicht |
ca. kg |
8,4 |
11,2 |