Typ 09443 - Absperrschieber mit Antrieb
calcPageSize())" loading="lazy" />Das im Bild dargestellte Produkt kann vom verkauften Produkt abweichen.
Verwendungsbereich
Verwendungsbereich:
Zugelassen für Luftgase, Dämpfe und tiefkalte verflüssigte Gase inkl. LNG.
Zulässige Betriebstemperatur: -196°C (77K) bis +120°C (393K)
Umgebungstemperatur Antrieb: -50°C (223K) bis +70°C (343K)
Zertifikate
Livebestand: Nicht auf Lager pcs (AUF LAGER)
| Anwendung | LNG, Luftgase |
|---|---|
| Anwendungsbereich | Transport, Lagerung, Betankung, Prozesse |
| Artikelnummer | CR_09443 |

Werkstoffe |
DIN EN |
ASTM |
|
|---|---|---|---|
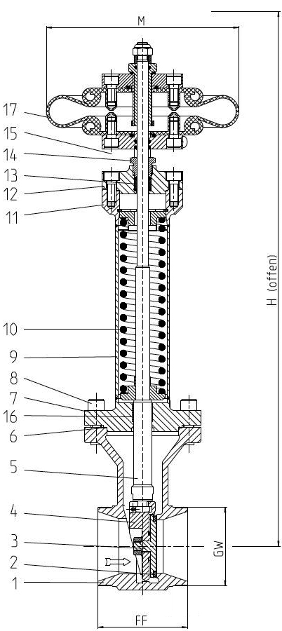
1 |
Gehäuse |
1.4308 |
A 351 CF8 |
2 |
Dichtung |
PTFE / Elektrocarbon (25%) |
|
3 |
Abschlusskörper |
CW452K |
B 159 UNS C51900 |
4 |
Keil |
1.4308 |
A 351 CF8 |
5 |
Spindel |
1.4301 |
A 276 Grade 304 |
6 |
Oberteildichtung |
PTFE |
|
7 |
Oberteilflansch |
1.4301 |
A 276 Grade 304 |
8 |
Oberteilschrauben |
1.4301/A2 |
A 194 B8 |
9 |
Verlängerungsrohr |
1.4541 |
A 213 TP 321 |
10 |
Feder |
1.4571 |
A 313 Grade 316Ti |
11 |
Flansch |
1.4301 |
A 276 Grade 304 |
12 |
Oberteil |
1.4301 |
A 276 Grade 304 |
13 |
Stopfbuchspackung |
Graphit / PTFE / MICA |
|
14 |
Stopfbuchsmutter |
1.4305 |
A 276 Grade 303 |
15 |
Jochstangen |
1.4301 |
A 276 Grade 304 |
16 |
Gleitbuchse |
CW452K |
B 159 UNS C51900 |
17 |
Antrieb |
Kautschuk |
Typ 09443 - Standardausführung |
Technische Daten |
||||
|---|---|---|---|---|---|
Nenngröße |
DN |
25 |
40 |
50 |
65 |
Größenschlüssel |
.X. |
0250 |
0400 |
0500 |
0650 |
Gewinde (G- / M-Gewinde) |
GW |
- / M40x2 |
G2 / M65x2 |
G2-1/2 / M78x2 |
G3 / M88x2 |
Baulänge |
FF |
133 |
133 |
110 |
110 |
Höhe |
H |
500 |
560 |
590 |
630 |
Antrieb-Ø |
M |
229 |
229 |
229 |
229 |
Gewicht |
ca. kg |
9,9 |
11,1 |
13,5 |
14,9 |
*Kvs - Wert |
m³/h |
43 |
93 |
125 |
227 |
*Cv - Wert |
gal/min |
51 |
111 |
149 |
264 |
Produktvarianten
Filtern Sie unser Produkt nach spezifischen Attributen| Name | Anschlussart Eintritt | Anschlussart Austritt | Anschlussdimension Eintritt | Anschlussdimension Austritt | Bauhöhe (H) | Cv-Wert | Nennweite | Link zum Produkt |
|---|
- ...
- ...