Typ 15C02 - Kugelhahn mit pneumatischem Antrieb
calcPageSize())" loading="lazy" />Das im Bild dargestellte Produkt kann vom verkauften Produkt abweichen.
Verwendungsbereich
Verwendungsbereich:
Zugelassen für Luftgase, Dämpfe und CNG.
Zulässige Betriebstemperatur: -60°C / -76°F (213K) bis zu +190°C / +374°F (463K)
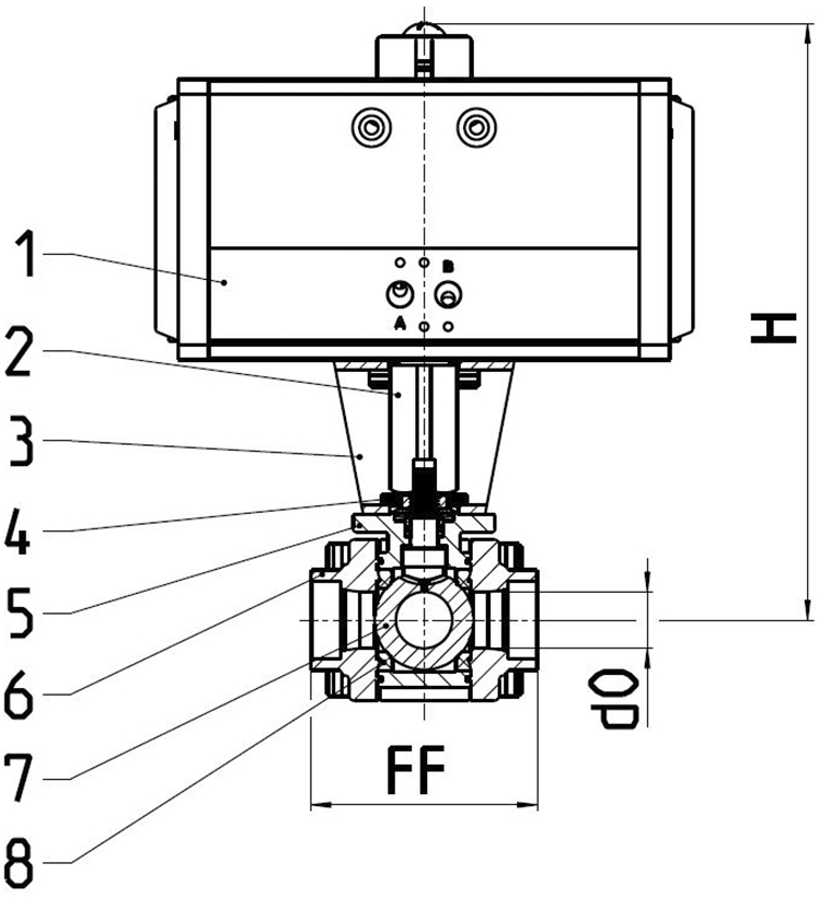
Beschreibung
Kugelhahn
Bidirektionaler Kugelhahn
Schweißmuffe für Edelstahlrohre nach ISO 1127 oder ASTM A312
Schweißende für Edelstahlrohre nach ISO 1127 oder ASTM A312
Innengewinde NPT nach ANSI 1.20.1
Innengewinde G nach ISO 228/1
Gekennzeichnet nach EN 1626
Oberteilflansch nach EN ISO 5211
" öl- und fettfrei für Sauerstoff "
Antrieb:
Luft öffnet, Feder schließt (optional Feder öffnet)
Zuluft max.: 8 bar, Zuluft min.: 6 bar (max delta P)
Medium: Luft, Stickstoff, Erdgas (Sulfidgehalt <2ppm)
Anschluss Zuluft: NAMUR G1/4"
Zulässige Umgebungstemperatur: -20°C (253K) bis +80°C (353K)
Artikel-Nr. 15C02.A002.XXXXXX
Verfügbare Zusatzausrüstung:
· Endschalter
· Magnetventil
Zertifikate
Livebestand: Nicht auf Lager pcs (AUF LAGER)
| Type (Baureihe) | 15C02 |
|---|---|
| Anwendung | LNG, Luftgase, Industrie |
| Anwendungsbereich | Transport, Lagerung, Betankung, Prozesse, Druckluft |
| Artikelnummer | CR_15C02_1 |

Werkstoffe |
DIN EN |
ASTM |
|
|---|---|---|---|
1 |
Antrieb |
Aluminium |
Aluminium |
2 |
Adapter |
1.4314 |
A276 Grade 304 |
3 |
Halter |
1.4314 |
A240 Grade 304 |
4 |
Schrauben |
1.4571/A4 |
ähnlich A 194 BBT |
5 |
Gehäuse |
1.4409 |
A 351 CF3M |
6 |
Seitenanschluss |
1.4409 |
A 351 CF3M |
7 |
Kugel |
1.4401 |
A 479 Grade 316 |
8 |
Kugeldichtung |
Elektrocarbon (25%) |
Technische Daten - Standardausführungen |
||||||
|---|---|---|---|---|---|---|
Nenngröße [DN] |
Höhe (H) [mm] |
Sitzdurchmesser (D0) [mm] |
Gewicht [kg] |
Kvs-Wert [m³/h] |
Cv-Wert [gal/min] |
ISO 5211 |
10 |
217 |
8,0 |
4,0 |
5,7 |
6,6 |
F03 |
15 |
217 |
14,5 |
4,0 |
10,7 |
12,4 |
F03 |
20 |
256 |
19,5 |
7,8 |
24,7 |
28,6 |
F04 |
25 |
261 |
25,0 |
8,5 |
32,1 |
37,1 |
F04 |
32 |
279 |
32,0 |
10,5 |
77,9 |
90,1 |
F05 |
40 |
303 |
38,0 |
14,4 |
122,3 |
141,4 |
F05 |
50 |
331 |
50,0 |
21,0 |
124,1 |
143,7 |
F07 |
65 |
435 |
64,5 |
52,5 |
188,6 |
218,4 |
F10 |
80 |
458 |
80,0 |
65,7 |
279,8 |
323,7 |
F10 |
Produktvarianten
Filtern Sie unser Produkt nach spezifischen Attributen| Name | Anschlussart Eintritt | Anschlussart Austritt | Anschlussdimension Eintritt | Anschlussdimension Austritt | Bauhöhe (H) | Link zum Produkt |
|---|
- ...
- ...
Ausgewähltes Portfolio
Die hier dargestellten Produkte zeigen nur eine Auswahl unseres Portfolios.
Wir bieten zahlreiche weitere Varianten sowie kundenspezifische Lösungen an.
Sie suchen eine bestimmte Konfiguration, Größe oder Spezifikation?