Typ 4186-3 - KombiDruckregler
calcPageSize())" loading="lazy" />Das im Bild dargestellte Produkt kann vom verkauften Produkt abweichen.
Verwendungsbereich
Verwendungsbereich:
Zugelassen für Luftgase, Dämpfe und tiefkalte verflüssigte Gase inkl. LNG.
Zulässige Betriebstemperatur: -196°C (77K) bis +65°C (338K)
Zulässige Umgebungstemperatur: -40°C (223K) bis +65°C (338K)
Beschreibung
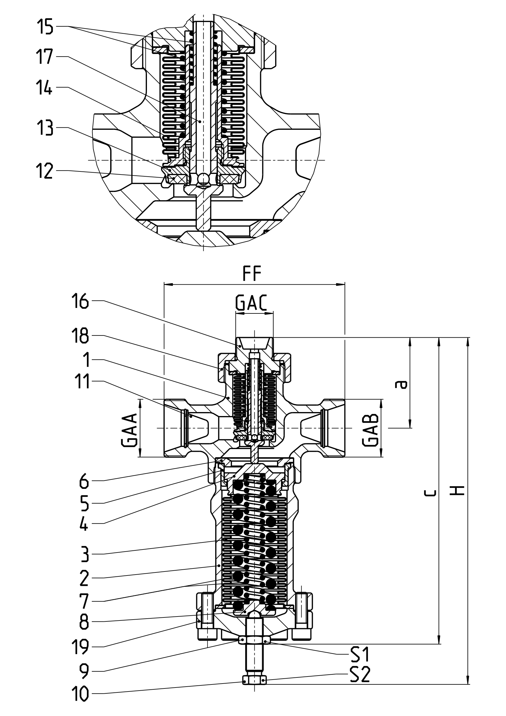
Tieftemperatur-Druckregler aus Edelstahl, PN50
Soll-Arbeitsbereich von 2,0 bis 38,0 bar
Anschlüsse: Außengewinde für Verschraubungsanschluss, G- oder M-Gewinde
"¦öl- und fettfrei für Sauerstoff¦"
mit installiertem Sieb Maschenweite 0,25 mm an Anschluss A und B
Artikel-Nr. 4186.X.3100* Soll-Arbeitsdruckbereich 2,0 bis 10,0 bar
voreingestellt auf 8,0 bar, wenn nicht anders auf der Bestellung angegeben
Artikel-Nr. 4186.X.3200* Soll-Arbeitsdruckbereich 8,0 bis 22,0 bar
voreingestellt auf 12,0 bar, wenn nicht anders auf der Bestellung angegeben
Artikel-Nr. 4186.X.3300* Soll-Arbeitsdruckbereich 20,0 bis 38,0 bar
voreingestellt auf 20,0 bar, wenn nicht anders auf der Bestellung angegeben
*Anschluss C: 1 = M-Gewinde (Konusanschluss 37°), 2 = G-Gewinde (Konusanschluss 60°)
Verfügbare Sonderausführungen - nur auf Anfrage:
· Weitere Anschlüsse
· Mit Rückschlageinheit Typ 66044
Livebestand: Nicht auf Lager pcs (AUF LAGER)
| Type (Baureihe) | 4186 |
|---|---|
| Anwendung | LNG, Luftgase |
| Anwendungsbereich | Transport, Lagerung |
| Artikelnummer | CR_4186-3 |

Werkstoffe |
DIN EN |
ASTM |
|
|---|---|---|---|
1 |
Gehäuse |
1.4308 |
A 351 CF8 |
2 |
Haube |
1.4408 |
A 351 CF8M |
3 |
Faltenbalg |
1.4571 |
A 313 Grade 316Ti |
4 |
Federteller |
1.4571 |
A 276 Grade 316Ti |
5 |
Hubbegrenzung |
1.4571 |
A 276 Grade 316Ti |
6 |
Hubbegrenzung |
1.4571 |
A 276 Grade 316Ti |
7 |
Feder |
1.4310 |
A 313 Grade 301 |
8 |
Federspanner |
1.4301 |
A 276 Grade 304 |
9 |
Kontermutter |
1.4301 |
A 276 Grade 304 |
10 |
Sollwertschraube |
1.4301 |
A 240 Grade 304 |
11 |
Sieb (optional) |
1.4301 |
A 240 Grade 304 |
12 |
Dichtung |
PTFE |
|
13 |
Faltenbalgkegel |
1.4571 |
A 313 Grade 316Ti |
14 |
Faltenbalg |
1.4571 |
A 313 Grade 316Ti |
15 |
Feder |
1.4571 |
A 313 Grade 316Ti |
16 |
Anschlussnippel |
1.4571 |
A 313 Grade 316Ti |
17 |
Überströmrohr |
1.4571 |
A 276 Grade 316Ti |
18 |
Überwurfmutter |
1.4301 |
A 276 Grade 304 |
19 |
Flansch-Deckel |
1.4308 |
A 351 CF8 |
Typ 4186 - Standardausführung |
Technische Daten |
||
|---|---|---|---|
Nenngröße |
DN |
20 |
20 |
Größenschlüssel |
.X. |
MM04020 |
MG12000 |
Baulänge |
FF |
125 |
125 |
Höhe |
H |
239 |
239 |
Verschraubungsgewinde |
GAA |
M40x2,0 |
G 1-1/4 |
Verschraubungsgewinde |
GAB |
M40x2,0 |
G 1-1/4 |
Verschraubungsgewinde |
GAC |
M26x1,5 |
G 3/4 |
Länge |
a |
63 |
63 |
Länge |
c |
212 |
212 |
Schlüsselweite |
S1 |
19 |
19 |
Schlüsselweite |
S2 |
14 |
14 |
Gewicht |
ca. kg |
3,2 |
3,2 |
Kvs - Wert |
m³/h |
3,2 |
3,2 |
Cv - Wert |
gal/min |
3,7 |
3,7 |
Produktvarianten
Filtern Sie unser Produkt nach spezifischen Attributen| Name | Anschlussart Eintritt | Anschlussart Austritt | Anschlussdimension Eintritt | Anschlussdimension Austritt | Nennweite | Link zum Produkt |
|---|
- ...
- ...
Ausgewähltes Portfolio
Die hier dargestellten Produkte zeigen nur eine Auswahl unseres Portfolios.
Wir bieten zahlreiche weitere Varianten sowie kundenspezifische Lösungen an.
Sie suchen eine bestimmte Konfiguration, Größe oder Spezifikation?