Typ 04041
calcPageSize())" loading="lazy" />Das im Bild dargestellte Produkt kann vom verkauften Produkt abweichen.
Verwendungsbereich
Verwendungsbereich:
Geeignet für nichtbrennbare, ungiftige Flüssigkeiten, Gase und Dämpfe. Die den
Verwendungszweck betreffenden Gesetze, Verordnungen und Normen sind zu beachten.
Zulässige Betriebstemperaturen und.-drücke:
bis max. 16,0 bar: -10°C (263K) bis +80°C (353K)
bis max. 10,0 bar: -10°C (263K) bis +120°C (393K)
bis max. 6,0 bar: -10°C (263K) bis +160°C (433K)
Beschreibung
Regelventile, PN16
Regelcharakteristik: linear
Gehäuse aus Bronze, eingeschraubtes Oberteil aus Messing
mit Anzeigevorrichtung
Artikel-Nr. 04041.X.0160
Flanschanschluss nach DIN EN 1092-3 PN16
Livebestand: Nicht auf Lager pcs (AUF LAGER)
| Type (Baureihe) | 04041 |
|---|---|
| Anwendung | Luftgase |
| Anwendungsbereich | Transport, Lagerung, Prozesse |
| Artikelnummer | IN_04041 |

Werkstoffe |
DIN EN |
ASTM |
|
|---|---|---|---|
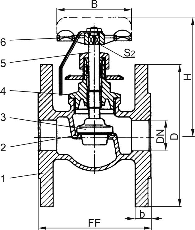
1 |
Gehäuse |
CC491K |
B 62 UNS C83600 |
2 |
Dichtung |
PTFE |
|
3 |
Regelkegel |
CW614N |
B 283 UNS C38500 |
4 |
Oberteil |
CW614N |
B 283 UNS C38500 |
5 |
Spindel |
CW614N |
B 283 UNS C38500 |
6 |
Handrad |
Aluminium - Druckguss |
Typ 04041 |
Technische Daten |
||||||
|---|---|---|---|---|---|---|---|
Nenngröße |
DN |
15 |
20 |
25 |
32 |
40 |
50 |
Größenschlüssel |
.X. |
0150 |
0200 |
0250 |
0320 |
0400 |
0500 |
Baulänge |
FF |
65 |
80 |
90 |
95 |
110 |
125 |
Höhe |
H |
85 |
95 |
105 |
120 |
130 |
145 |
Flanschdurchmesser |
D |
95 |
105 |
115 |
140 |
150 |
165 |
Blattdicke |
b |
10 |
12 |
12 |
14 |
14 |
16 |
Handrad-Ø |
B |
50 |
60 |
70 |
80 |
90 |
110 |
Vierkant |
S2 |
5 |
6 |
7 |
8 |
9 |
9 |
Gewicht |
ca. kg |
1,4 |
2,0 |
2,6 |
3,9 |
4,5 |
6,6 |
Kvs-Wert |
m³/h |
2,0 |
4,0 |
6,0 |
12,0 |
16,0 |
25,0 |
Produktvarianten
Filtern Sie unser Produkt nach spezifischen Attributen| Name | Bauhöhe (H) | Baulänge (FF) | Nennweite | Link zum Produkt |
|---|
- ...
- ...
Ausgewähltes Portfolio
Die hier dargestellten Produkte zeigen nur eine Auswahl unseres Portfolios.
Wir bieten zahlreiche weitere Varianten sowie kundenspezifische Lösungen an.
Sie suchen eine bestimmte Konfiguration, Größe oder Spezifikation?