Typ 06205
calcPageSize())" loading="lazy" />Das im Bild dargestellte Produkt kann vom verkauften Produkt abweichen.
Verwendungsbereich
Verwendungsbereich:
Vorgesehen als Sicherheitseinrichtung gegen unzulässige Drucküberschreitungen für ortsfeste
und bewegliche Druckbehälter und Druckgasbehälter. Zugelassen für Luft und ähnliche Gase.
Zulässige Betriebstemperatur: -20°C (253K) bis +160°C (433K), Größe d07 geeignet für waagerechten Einbau
Beschreibung
Sicherheitsventile aus Messing,
bauteilgeprüft TÜV-SV.1090 D/G
Normal-Sicherheitsventil
Abschlusskörper mit FPM- oder PTFE-Dichtung, offene Federhaube
frei abblasend, mit Anlüftvorrichtung
Eintritt: Außengewinde Typ G nach ISO 228/1
Artikel-Nr. 06205.X.0000 mit FPM-Dichtung (0,4 bis 35,0 bar)
Artikel-Nr. 06205.X.0300 mit PTFE-Dichtung (35,0 bis 43,0 bar)
Verfügbare Sonderausführungen - nur auf Anfrage:
· außenliegende Teile vernickelt
· EPDM-Dichtung bis zu +150°C (423K)
Zertifikate
Livebestand: Nicht auf Lager pcs (AUF LAGER)
| Type (Baureihe) | 06205 |
|---|---|
| Anwendung | Luftgase, Industrie |
| Anwendungsbereich | Lagerung, Prozesse, Druckluft, Dampf, FKS |
| Artikelnummer | IN_06205 |

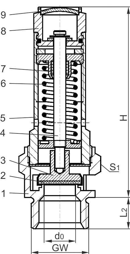
Werkstoffe |
DIN EN |
ASME/ASTM |
|
|---|---|---|---|
1 |
Gehäuse |
CW614N |
B 249 UNS C38500 |
2 |
Dichtung |
FPM (Viton) |
|
3 |
Teller |
CW614N |
B 249 UNS C38500 |
4 |
Spindel |
CW614N |
B 249 UNS C38500 |
5 |
Haube |
CW614N |
B 249 UNS C38500 |
6 |
Feder |
1.1200 |
A 227 |
7 |
Spindelführung |
PTFE |
|
8 |
Anlüftschraube |
CW614N |
B 249 UNS C38500 |
9 |
Verschlussscheibe |
CW507L |
B 36 UNS C26800 |
Typ 06205 |
Technische Daten |
|||
|---|---|---|---|---|
Nenngröße |
GW |
1/4 |
3/8 |
1/2 |
Sitzdurchmesser |
d0 |
7 |
7 |
7 |
Größenschlüssel |
.X. |
0200 |
0300 |
0704 |
Ansprechdruck |
bar |
0,4-43 |
0,4-43 |
0,4-43 |
Höhe |
H |
60 |
60 |
67 |
Länge |
L2 |
10 |
10 |
12 |
Schlüsselweite |
S1 |
21 |
21 |
24 |
Gewicht |
ca. kg |
0,07 |
0,07 |
0,17 |
Ausflussziffer ab 3,0 bar |
αw |
0,60 |
0,60 |
0,60 |
Ausgewähltes Portfolio
Die hier dargestellten Produkte zeigen nur eine Auswahl unseres Portfolios.
Wir bieten zahlreiche weitere Varianten sowie kundenspezifische Lösungen an.
Sie suchen eine bestimmte Konfiguration, Größe oder Spezifikation?