Typ 06505
calcPageSize())" loading="lazy" />Das im Bild dargestellte Produkt kann vom verkauften Produkt abweichen.
Verwendungsbereich
Verwendungsbereich:
Vorgesehen als Sicherheitseinrichtung gegen unzulässige Drucküberschreitungen für Fahrzeug-
und Druckbehälter. Zugelassen für flüssige, körnige und staubförmige Güter.
Zulässige Betriebstemperatur: -40°C (233K) bis +200°C (473K), geeignet für waagerechten Einbau (D0 24 bis D0 31)
Beschreibung
Sicherheitsventile aus Messing,
bauteilgeprüft TÜV-SV.948. F/K/S
Normal-Sicherheitsventil,
Abschlusskörper mit FPM-Dichtung, geschlossene Federhaube
mit Membrane zum Schutz der Feder, mit Anlüftvorrichtung
frei abblasend, mit Schutzhaube
Eintritt: Außengewinde Typ G nach ISO 228/1
Artikel-Nr. 06505.X.1000
Verfügbare Sonderausführungen - nur auf Anfrage:
· außenliegende Teile vernickelt
Zertifikate
Livebestand: Nicht auf Lager pcs (AUF LAGER)
| Type (Baureihe) | 06505 |
|---|---|
| Anwendung | Luftgase, Industrie |
| Anwendungsbereich | Lagerung, Prozesse, FKS |
| Artikelnummer | IN_06505 |

Werkstoffe |
DIN EN |
ASME/ASTM |
|
|---|---|---|---|
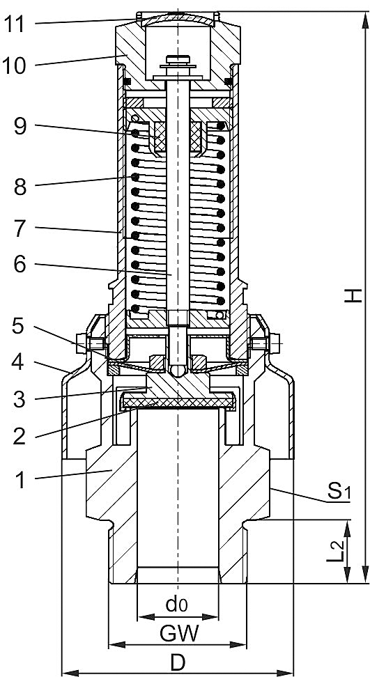
1 |
Gehäuse |
CW617N |
B 283 UNS C37700 |
2 |
Dichtung |
FPM (Viton-GLT) |
|
3 |
Teller |
CW614N |
B 249 UNS C38500 |
4 |
Schutzhaube |
1.4301 |
A 240 Grade 304 |
5 |
Membrane |
Silikon |
|
6 |
Spindel |
CW614N |
B 249 UNS C38500 |
7 |
Haube |
CW614N |
B 249 UNS C38500 |
8 |
Feder |
1.4571 |
A 313 Grade 316Ti |
9 |
Spindelführung |
PTFE |
|
10 |
Anlüftschraube |
CW614N |
B 249 UNS C38500 |
11 |
Verschlussscheibe |
CW507L |
B 36 UNS C26800 |
Typ 06505 |
Technische Daten |
||||||
|---|---|---|---|---|---|---|---|
Nenngröße |
GW |
1 |
1-1/4 |
1-1/2 |
1-1/4 |
1-1/2 |
2 |
Sitzdurchmesser |
d0 |
24 |
28 |
28 |
31 |
31 |
48 |
Größenschlüssel |
.X. |
1000 |
2812 |
2814 |
3112 |
3114 |
2000 |
Ansprechdruck |
bar |
0,5-6,0 |
0,5-4,5 |
0,5-4,5 |
0,5-6,0 |
0,5-6,0 |
0,5-3,5 |
Höhe |
H |
194 |
198 |
198 |
191 |
191 |
232 |
Länge |
L2 |
18 |
22 |
22 |
22 |
22 |
25 |
Durchmesser Schutzhaube |
D |
80 |
80 |
80 |
80 |
80 |
115 |
Schlüsselweite |
S1 |
55 |
55 |
55 |
55 |
55 |
85 |
Gewicht |
ca. kg |
1,75 |
1,85 |
1,90 |
2,00 |
2,30 |
4,5 |
Ausflussziffer ab 3,0 bar |
αw |
0,62 |
0,58 |
0,58 |
0,68 |
0,68 |
0,52 |
Ausflussziffer ab 3,5 bar |
αw |
- |
- |
- |
0,65 |
0,65 |
- |
Ausflussziffer ab 4,5 bar |
αw |
0,57 |
- |
- |
- |
- |
- |
Ausgewähltes Portfolio
Die hier dargestellten Produkte zeigen nur eine Auswahl unseres Portfolios.
Wir bieten zahlreiche weitere Varianten sowie kundenspezifische Lösungen an.
Sie suchen eine bestimmte Konfiguration, Größe oder Spezifikation?