Typ 08431 - Schmutzfänger, DIN EN Flansche
calcPageSize())" loading="lazy" />Das im Bild dargestellte Produkt kann vom verkauften Produkt abweichen.
Verwendungsbereich
Verwendungsbereich:
Zugelassen für Luftgase, Dämpfe und tiefkalte verflüssigte Gase inkl. LNG.
Zulässige Betriebstemperaturen: -196°C (77K) bis +120°C (393K)
Beschreibung
Tieftemperatur-Schmutzfänger, PN40
Gehäuse aus Edelstahl, aufgeflanschter Deckel aus Bronze
mit Sieb Maschenweite 0,25 mm
“öl- und fettfrei für Sauerstoff"
Artikel-Nr. 08431.X.0002
Flanschanschluss nach DIN EN 1092-1 PN40
Verfügbare Sonderausführungen - nur auf Anfrage:
· andere Maschenweiten Sieb (veränderte Durchflusswerte)
· Sieb aus Bronze oder Monel
· Sinterfilter aus Bronze oder Edelstahl in verschiedenen Porositäten
Zertifikate
type-examination for LNG (DIN EN 12567)
Livebestand: Nicht auf Lager pcs (AUF LAGER)
| Type (Baureihe) | 08431 |
|---|---|
| Anwendung | LNG, Luftgase |
| Anwendungsbereich | Transport, Lagerung, Betankung, Prozesse |
| Artikelnummer | CR_08431_1 |

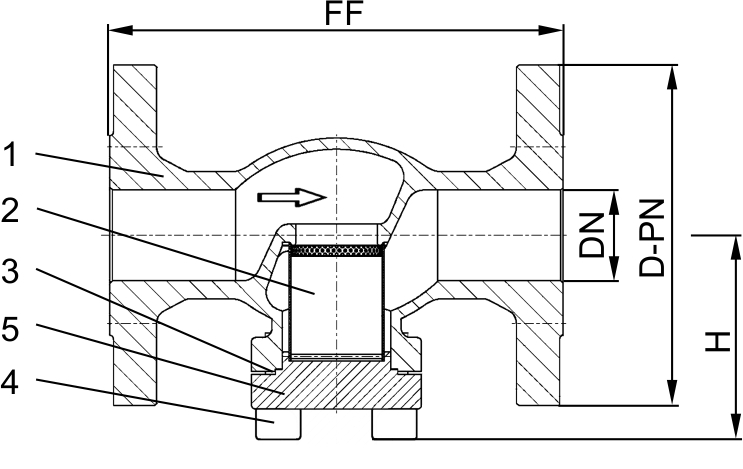
Werkstoffe |
DIN EN |
ASTM |
|
|---|---|---|---|
1 |
Gehäuse |
1.4308 |
A 351 CF8 |
2 |
Sieb |
1.4301 |
A 240 Grade 304 |
3 |
Oberteildichtung |
PTFE |
|
4 |
Deckelschrauben |
1.4301/A2 |
A 194 B8 |
5 |
Deckel |
CC493K |
B 505 UNS C93200 |
Typ 08431 - Standardausführung |
Technische Daten |
|||||||||
|---|---|---|---|---|---|---|---|---|---|---|
Nenngröße |
DN |
15 |
20 |
25 |
40 |
50 |
65 |
80 |
100 |
150 |
Größenschlüssel - Flansch EN 1092-1 PN40 |
.X. |
0150 |
0200 |
0250 |
0400 |
0500 |
0650 |
0800 |
1000 |
1500 |
Flanschdurchmesser |
D-PN |
95 |
105 |
115 |
150 |
165 |
185 |
200 |
235 |
300 |
Baulänge |
FF |
140 |
150 |
160 |
200 |
230 |
290 |
310 |
350 |
550 |
Höhe |
H |
62 |
69 |
69 |
89 |
89 |
125 |
150 |
166 |
212 |
Gewicht |
ca. kg |
2,5 |
3,0 |
4,0 |
8,1 |
10,6 |
17,7 |
23,2 |
36,8 |
68,1 |
Kvs - Wert |
m³/h |
4,3 |
6,7 |
9,5 |
21,0 |
28,0 |
62,0 |
90,0 |
118,0 |
auf Anfrage |
Cv - Wert |
gal/min |
5,0 |
7,8 |
11,0 |
24,3 |
32,4 |
72,3 |
105,0 |
137,7 |
auf Anfrage |
Produktvarianten
Filtern Sie unser Produkt nach spezifischen Attributen| Name | Anschlussart Eintritt | Anschlussart Austritt | Anschlussdimension Eintritt | Anschlussdimension Austritt | Nennweite | Link zum Produkt |
|---|
- ...
- ...
Ausgewähltes Portfolio
Die hier dargestellten Produkte zeigen nur eine Auswahl unseres Portfolios.
Wir bieten zahlreiche weitere Varianten sowie kundenspezifische Lösungen an.
Sie suchen eine bestimmte Konfiguration, Größe oder Spezifikation?