Typ 09345 - Absperrschieber
calcPageSize())" loading="lazy" />Das im Bild dargestellte Produkt kann vom verkauften Produkt abweichen.
Verwendungsbereich
Verwendungsbereich:
Zugelassen für Luftgase, Dämpfe und tiefkalte verflüssigte Gase inkl. LNG.
Zulässige Betriebstemperatur: -196°C (77K) bis +120°C (393K)
Beschreibung
Tieftemperatur-Absperrschieber, PN50
Gehäuse und aufgeflanschtes Oberteil aus Edelstahl
einseitig dichtend (in Flussrichtung)
"¦live loaded¦" Spindelabdichtung
"¦öl- und fettfrei für Sauerstoff¦"
Betriebsdruck: 5 - 50 bar, Leckrate A nach DIN EN 12266
Betriebsdruck: 0,7 - 4,9 bar, Leckrate B nach DIN EN 12266
Artikel-Nr. 09345.X.0011*
Innengewindeanschluss (G) nach ISO 228/1
Artikel-Nr. 09345.X.0015
Innengewindeanschluss (R) nach ISO 7-Rc
Artikel-Nr. 09345.X.0016
Innengewindeanschluss (NPT) nach ANSI 1.20.1
Verfügbare Sonderausführungen - nur auf Anfrage:
· andere Anschlussarten in Vorbereitung
Zertifikate
Konformitätserklärungen
Transportable Pressure Equipment Directive (2010/35/EU)
Pressure Equipment Directive (2014/68/EU)
Livebestand: Nicht auf Lager pcs (AUF LAGER)
| Type (Baureihe) | 09345 |
|---|---|
| Anwendung | LNG, Luftgase |
| Anwendungsbereich | Transport, Lagerung, Betankung |
| Artikelnummer | CR_09345 |

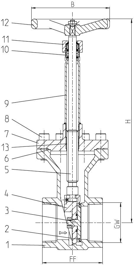
Werkstoffe |
DIN EN |
ASTM |
|
|---|---|---|---|
1 |
Gehäuse |
1.4308 |
A 351 CF8 |
2 |
Dichtung |
PTFE / Elektrocarbon (25%) |
|
3 |
Abschlusskörper |
CW614N |
B 283 UNS C38500 |
4 |
Keil |
1.4308 |
A 351 CF8 |
5 |
Spindel |
1.4301 |
A 276 Grade 304 |
6 |
Oberteildichtung |
PTFE |
|
7 |
Oberteilflansch |
1.4308 |
A 351 CF8 |
8 |
Oberteilschrauben |
1.4301/A2 |
A 194 B8 |
9 |
Verlängerungsrohr |
1.4541 |
A 213 TP 321 |
10 |
Stopfbuchspackung |
Graphit / PTFE / MICA |
|
11 |
Stopfbuchsmutter |
1.4305 |
A 276 Grade 303 |
12 |
Handrad |
Aluminium Legierung |
|
13 |
Gewindebuchse |
CW452K |
B 159 UNS C51900 |
Typ 09345 - Standardausführung |
Technische Daten |
||||
|---|---|---|---|---|---|
Nenngröße |
DN |
25 |
40 |
50 |
65 |
Gewindegröße |
GW |
1 |
1-1/2 |
2 |
2-1/2 |
Größenschlüssel |
.X. |
1000 |
1400 |
2000 |
2400 |
Baulänge |
FF |
133 |
133 |
110 |
110 |
Höhe |
H |
330 |
360 |
410 |
440 |
Handrad-Ø |
B |
125 |
125 |
150 |
150 |
Gewicht |
ca. kg |
3,3 |
4,8 |
7,5 |
8,6 |
Kvs - Wert |
m³/h |
43 |
93 |
125 |
227 |
Cv - Wert |
gal/min |
51 |
111 |
149 |
264 |
Produktvarianten
Filtern Sie unser Produkt nach spezifischen Attributen| Name | Anschlussart Eintritt | Anschlussart Austritt | Anschlussdimension Eintritt | Anschlussdimension Austritt | Bauhöhe (H) | Nennweite | Link zum Produkt |
|---|
- ...
- ...
Ausgewähltes Portfolio
Die hier dargestellten Produkte zeigen nur eine Auswahl unseres Portfolios.
Wir bieten zahlreiche weitere Varianten sowie kundenspezifische Lösungen an.
Sie suchen eine bestimmte Konfiguration, Größe oder Spezifikation?