Typ 15C01 - Kugelhahn voller Durchgang
calcPageSize())" loading="lazy" />Das im Bild dargestellte Produkt kann vom verkauften Produkt abweichen.
Verwendungsbereich
Verwendungsbereich:
Zugelassen für Luftgase, Dämpfe und tiefkalte verflüssigte Gase inkl. LNG.
Zulässige Betriebstemperatur: -196°C (77K) bis +65°C (338K)
Beschreibung
Tieftemperatur-Kugelhahn
Ein in Flussrichtung einseitig einsetzbarer Kugelhahn mit Entlastungsbohrung.
Schweißmuffe für Edelstahlrohre nach ISO 1127 oder ASTM A312
Schweißende für Edelstahlrohre nach ISO 1127 oder ASTM A312
Innengewinde NPT nach ANSI 1.20.1
Innengewinde G nach ISO 228/1
Gekennzeichnet nach EN 1626
Oberteilflansch nach EN ISO 5211
" öl- und fettfrei für Sauerstoff "
Verfügbare Zusatzausrüstung:
· Schloss für Abschließvorrichtung Typ 55394.0019.0302
Zertifikate
Datenblätter
Livebestand: Nicht auf Lager pcs (AUF LAGER)
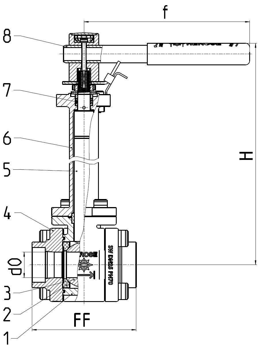
| Type (Baureihe) | 15C01 |
|---|---|
| Anwendung | LNG, Luftgase, Industrie |
| Anwendungsbereich | Transport, Lagerung, Betankung, Prozesse, Druckluft |
| Artikelnummer | CR_15C01 |

Werkstoffe |
DIN EN |
ASTM |
|
|---|---|---|---|
1 |
Gehäuse |
1.4409 |
A 351 CF3M |
2 |
Kugeldichtung |
PCTFE |
|
3 |
Kugel |
1.4404 |
316L S.S. |
4 |
Seitenanschluss |
1.4409 |
A 351 CF3M |
5 |
Spindel |
1.4401 |
A 479 Grade 316 |
6 |
Oberteilverlängerung |
1.4409 |
A 351 CF3M |
7 |
Stopfbuchspackung |
INOFLON M295 |
|
8 |
Hebel |
1.4301 |
ASTM A312 TP304 |
Technische Daten - Standardausführungen |
|||||||
|---|---|---|---|---|---|---|---|
Nenngröße [DN] |
Höhe (H) [mm] |
Sitzdurchmesser (D0) [mm] |
Gewicht [kg] |
Kvs-Wert [m³/h] |
Cv-Wert [gal/min] |
Länge (f) [mm] |
ISO 5211 |
10 |
296 |
8,0 |
2,5 |
5,7 |
6,6 |
127 |
F03 |
15 |
296 |
14,5 |
2,5 |
10,7 |
12,4 |
127 |
F03 |
20 |
305 |
19,5 |
3,1 |
24,7 |
28,6 |
157 |
F04 |
25 |
310 |
25,0 |
3,8 |
32,1 |
37,1 |
157 |
F04 |
32 |
376 |
32,0 |
6,5 |
77,9 |
90,1 |
240 |
F05 |
40 |
380 |
38,0 |
7,3 |
122,3 |
141,4 |
240 |
F05 |
50 |
427 |
50,0 |
13,6 |
124,1 |
143,7 |
420 |
F07 |
65 |
496 |
64,5 |
29,8 |
188,6 |
218,4 |
462,5 |
F10 |
80 |
592 |
80,0 |
44,7 |
279,8 |
323,7 |
600 |
F10 |
Produktvarianten
Filtern Sie unser Produkt nach spezifischen Attributen| Name | Anschlussart Eintritt | Anschlussart Austritt | Anschlussdimension Eintritt | Anschlussdimension Austritt | Bauhöhe (H) | Link zum Produkt |
|---|
- ...
- ...
Ausgewähltes Portfolio
Die hier dargestellten Produkte zeigen nur eine Auswahl unseres Portfolios.
Wir bieten zahlreiche weitere Varianten sowie kundenspezifische Lösungen an.
Sie suchen eine bestimmte Konfiguration, Größe oder Spezifikation?