Typ 06217
calcPageSize())" loading="lazy" />Das im Bild dargestellte Produkt kann vom verkauften Produkt abweichen.
Verwendungsbereich
Verwendungsbereich:
Vorgesehen als Sicherheitseinrichtung gegen unzulässige
Drucküberschreitungen für ortsfeste und bewegliche Druckbehälter und Druckgasbehälter.
Zugelassen für Luft und ähnliche Gase.
Zulässige Betriebstemperatur: -40°C (233K) bis +200°C (473K), geeignet für waagerechten Einbau
Beschreibung
Sicherheitsventile aus Messing,
bauteilgeprüft ASME Code Section VIII
Normal-Sicherheitsventil
Abschlusskörper mit FPM-Dichtung, offene Federhaube, frei abblasend
Eintritt: Außengewinde NPT nach ANSI B 1.20.1
Artikel-Nr. 06217.X.5010
mit Pull-Ring
Verfügbare Sonderausführungen - nur auf Anfrage:
· Schutzhaube aus Kunststoff für Ausblaseöffnungen,
· Feder aus Edelstahl - Werkstoff 1.4571,
· außenliegende Teile vernickelt
Zertifikate
ASME Code (ASME Code Section VIII)
Canadian Registration Number (CRN)
Livebestand: Nicht auf Lager pcs (AUF LAGER)
| Type (Baureihe) | 06217 |
|---|---|
| Anwendung | Luftgase, Industrie |
| Anwendungsbereich | Lagerung, Prozesse, Druckluft |
| Artikelnummer | IN_06217 |

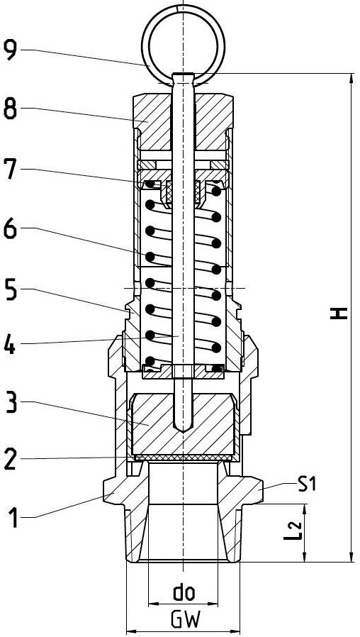
Werkstoffe |
DIN EN |
ASME/ASTM |
|
|---|---|---|---|
1 |
Gehäuse |
CW617N |
B 283 UNS C37700 |
2 |
Dichtung |
FPM (Viton-GLT) |
|
3 |
Teller |
CW614N |
B 455 UNS C38500 |
4 |
Spindel |
CW614N |
B 455 UNS C38500 |
5 |
Haube |
CW614N |
B 455 UNS C38500 |
6 |
Feder |
1.1200 |
A 227 |
7 |
Spindelführung |
PTFE |
|
8 |
Kappe |
CW614N |
B 455 UNS C38500 |
9 |
Pull-Ring |
Stahl |
Typ 06217 |
Technische Daten |
||||||
|---|---|---|---|---|---|---|---|
Nenngröße |
GW |
1/2 |
3/4 |
1 |
1-1/4 |
1-1/2 |
2 |
Sitzdurchmesser d0 |
inch |
0,472 |
0,591 |
0,787 |
0,984 |
1,260 |
1,575 |
Größenschlüssel |
.X. |
0400 |
0600 |
1000 |
1200 |
1400 |
2000 |
Ansprechdruck |
psi |
15-362 |
15-435 |
15-279 |
15-179 |
15-111 |
15-71 |
Höhe H |
inch |
4,291 |
5,118 |
6,260 |
6,930 |
8,110 |
9,114 |
Länge L2 |
inch |
0,551 |
0,630 |
0,709 |
0,787 |
0,866 |
0,984 |
Schlüsselweite S1 |
inch |
1,063 |
1,260 |
1,614 |
1,969 |
2,165 |
2,765 |
Gewicht |
lb |
0,551 |
0,904 |
1,587 |
2,712 |
3,814 |
6,812 |
Ausflussziffer ab 44 psi |
rated slope |
2,59 |
4,10 |
6,79 |
10,15 |
16,50 |
24,80 |
Produktvarianten
Filtern Sie unser Produkt nach spezifischen Attributen| Name | Anschlussart Eintritt | Anschlussdimension Eintritt | Link zum Produkt |
|---|
- ...
- ...
Ausgewähltes Portfolio
Die hier dargestellten Produkte zeigen nur eine Auswahl unseres Portfolios.
Wir bieten zahlreiche weitere Varianten sowie kundenspezifische Lösungen an.
Sie suchen eine bestimmte Konfiguration, Größe oder Spezifikation?