Typ 06C02
calcPageSize())" loading="lazy" />Das im Bild dargestellte Produkt kann vom verkauften Produkt abweichen.
Verwendungsbereich
Verwendungsbereich:
Vorgesehen als Sicherheitseinrichtung gegen unzulässige Drucküberschreitungen für ortsfeste
und bewegliche Druckbehälter und Druckgasbehälter. Zugelassen für Luft und ähnliche Gase.
Zulässige Betriebstemperatur mit FPM-Dichtung: -20°C (253K) bis +160°C (433K)
Zertifikate
Livebestand: Nicht auf Lager pcs (AUF LAGER)
| Anwendung | Luftgase, Industrie |
|---|---|
| Anwendungsbereich | Lagerung, Prozesse, Druckluft, Dampf |
| Artikelnummer | IN_06C02 |

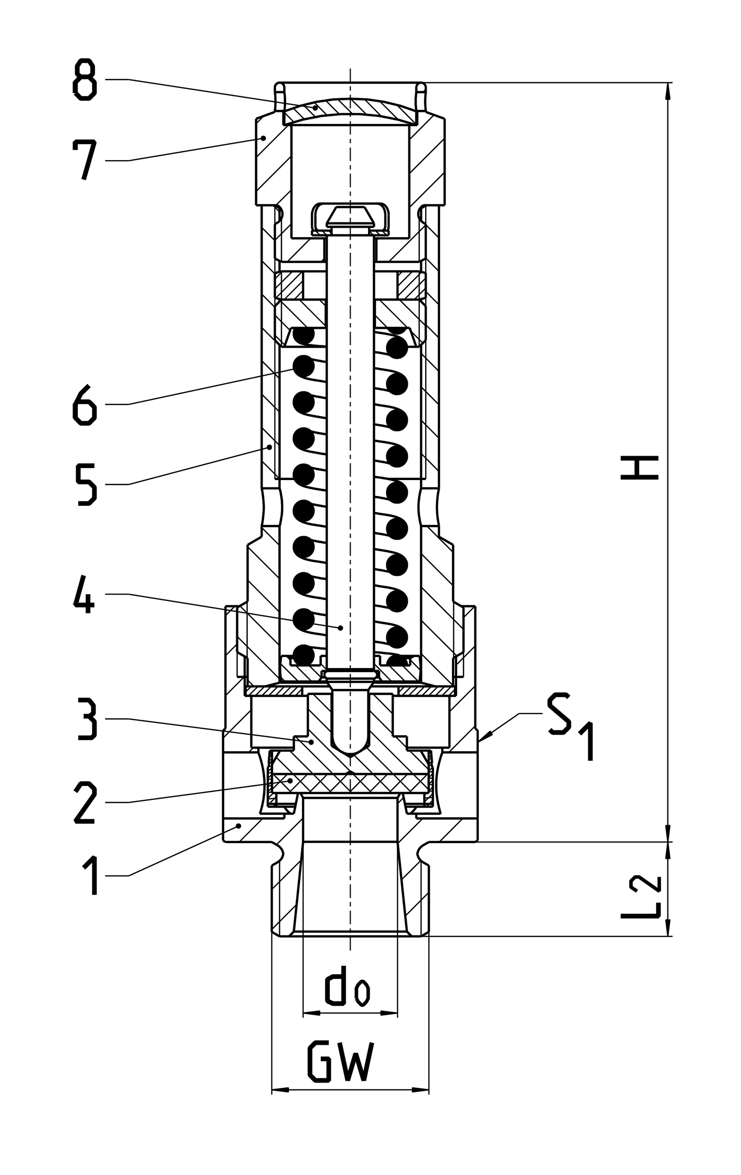
Werkstoffe |
DIN EN |
ASME/ASTM |
|
|---|---|---|---|
1 |
Gehäuse |
CW614N |
B 249 UNS C38500 |
2 |
Dichtung |
FPM (Viton) |
|
3 |
Teller |
CW614N |
B 249 UNS C38500 |
4 |
Spindel |
1.4301 |
SS304 |
5 |
Haube |
CW614N |
B 249 UNS C38500 |
6 |
Feder |
1.4571/1.1200 |
SS316L/A 227 |
7 |
Anlüftschraube |
CW614N |
B 249 UNS C38500 |
8 |
Verschlussscheibe |
CW507L |
B 36 UNS C26800 |
Typ 06C02 |
Technische Daten |
||||||||
|---|---|---|---|---|---|---|---|---|---|
Nenngröße |
GW |
1/4 |
3/8 |
1/2 |
3/8 |
1/2 |
3/4 |
3/4 |
1 |
Sitzdurchmesser |
d0 |
8 |
8 |
8 |
10 |
10 |
10 |
15 |
18 |
Ansprechdruck |
bar |
0,2-50 |
0,2-50 |
0,2-50 |
0,2-42 |
0,2-42 |
0,2-42 |
0,2-16 |
0,2-20 |
Höhe |
H |
78 |
78 |
78 |
81 |
81 |
81 |
92 |
110 |
Länge |
L2 |
10 |
10 |
12 |
10 |
12 |
15 |
15 |
18 |
Schlüsselweite |
S1 |
21 |
21 |
27 |
27 |
27 |
32 |
32 |
41 |
Gewicht |
ca. kg |
0,14 |
0,15 |
0,18 |
0,18 |
0,20 |
0,25 |
0,31 |
0,53 |
Ausflussziffer ab 3,0 bar* |
αw |
0,70 |
0,70 |
0,70 |
0,61 |
0,61 |
0,61 |
0,60 |
0,60 |
Produktvarianten
Filtern Sie unser Produkt nach spezifischen Attributen| Name | Anschlussart Eintritt | Anschlussdimension Eintritt | Link zum Produkt |
|---|
- ...
- ...