Type 06416
calcPageSize())" loading="lazy" />The product shown in the picture may differ from the product sold.
Field of application
Applications:
Provided as safety device for protection against excessive pressure in stationary and moveable gas
cylinders and pressure vessels. Approved for air gases, vapours and cryogenic liquefied gases incl. LNG.
Working temperature: -196°C / -321°F (77K) up to +185°C / +365°F (458K)
Certificates
Canadian Registration Number (CRN)
Transportable Pressure Equipment Regulation 2009 (TPER 2009)
ABS (Class Rules)
Live Stock: Out-Of Stock pcs (ON STOCK)
| Solution | LNG, Air Gases |
|---|---|
| Solution Area | Transport, Storage, Refueling, Processes |
| SKU | CR_06416 |

Materials |
DIN EN |
ASME/ASTM |
|
|---|---|---|---|
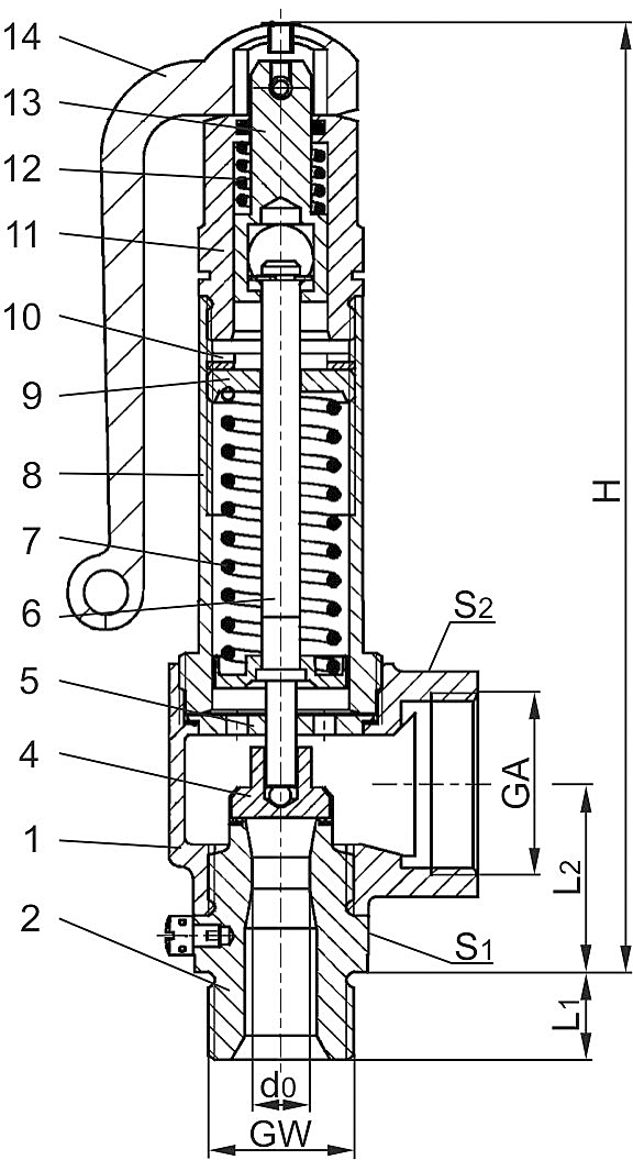
1 |
Outlet body |
CC491K |
B 62 UNS C83600 |
2 |
Inlet body |
1.4301 |
A 276 Grade 304 |
4 |
Disc |
1.4541 |
A 276 Grade 321 |
5 |
Guide plate |
CW453K |
B 103 UNS C52100 |
6 |
Stem |
CW453K |
B 103 UNS C52100 |
7 |
Spring |
1.4571 |
A 313 Grade 316Ti |
8 |
Bonnet |
1.4308 |
A 351 CF 8 |
9 |
Spring clamp |
CW614N |
B 283 UNS C38500 |
10 |
Thread ring |
CW614N |
B 283 UNS C38500 |
11 |
Lifting cap |
CW614N |
B 283 UNS C38500 |
12 |
Lifting spring |
1.4571 |
A 276 Grade 316Ti |
13 |
Lifting stem |
CW614N |
B 283 UNS C38500 |
14 |
Lever |
1.4408 |
A 351 CF8M |
Type 06416 |
Technical data |
|||
|---|---|---|---|---|
Nominal size |
GW |
1/2 |
3/4 |
1 |
Orifice |
d0 |
10.5 |
10.5 |
14.0 |
Dimension code |
.X. |
1004 |
1006 |
1410 |
Set pressure range |
bar |
0.2-25.0 |
0.2-25.0 |
0.2-40.0 |
Outlet |
GA |
1 |
1 |
1-1/4 |
Height |
H |
175 |
175 |
194 |
Length |
L1 |
14 |
16 |
18 |
Length |
L2 |
36 |
36 |
42 |
Wrench size across flats |
S1 |
30 |
30 |
41 |
Wrench size across flats |
S2 |
41 |
41 |
50 |
Weight |
ca. kg |
0.96 |
1.00 |
1.50 |
Coeff. of discharge from 3.0 bar |
αw |
0.67 |
0.67 |
0.67 |
Product Variants
Filter our product by specific attributes| Name | Connection inlet | Connection outlet | Connection dimension inlet | Connection dimension outlet | Link to product |
|---|
- ...
- ...