Type 06205
calcPageSize())" loading="lazy" />The product shown in the picture may differ from the product sold.
Field of application
Applications:
Provided as safety device for protection against excessive pressure in stationary and
moveable gas cylinders and pressure vessels. Approved for air and similar gases.
Working temperature: -20°C / -4°F (253K) up to +160°C / +320°F (433K), size d07 suitable for horizontal installation
Certificates
Live Stock: Out-Of Stock pcs (ON STOCK)
| Solution | Air Gases, Industry |
|---|---|
| Solution Area | Storage, Processes, Compressed Air, Steam, FKS |
| SKU | IN_06205 |

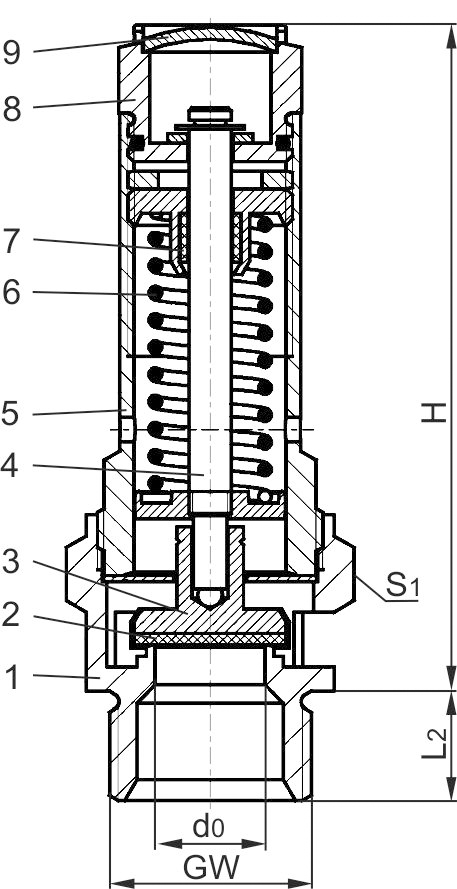
Materials |
DIN EN |
ASME/ASTM |
|
|---|---|---|---|
1 |
Body |
CW614N |
B 249 UNS C38500 |
2 |
Valve seal |
FPM (Viton) |
|
3 |
Disc |
CW614N |
B 249 UNS C38500 |
4 |
Stem |
CW614N |
B 249 UNS C38500 |
5 |
Bonnet |
CW614N |
B 249 UNS C38500 |
6 |
Spring |
1.1200 |
A 227 |
7 |
Stem guide |
PTFE |
|
8 |
Lifting device |
CW614N |
B 249 UNS C38500 |
9 |
Closing cap |
CW507L |
B 36 UNS C26800 |
Type 06205 |
Technical data |
|||
|---|---|---|---|---|
Nominal size |
GW |
1/4 |
3/8 |
1/2 |
Orifice |
d0 |
7 |
7 |
7 |
Dimension code |
.X. |
0200 |
0300 |
0704 |
Set pressure range |
bar |
0.4-43 |
0.4-43 |
0.4-43 |
Height |
H |
60 |
60 |
67 |
Length |
L2 |
10 |
10 |
12 |
Wrench size across flats |
S1 |
21 |
21 |
24 |
Weight |
ca. kg |
0.07 |
0.07 |
0.17 |
Coeff. of discharge from 3.0 bar |
αw |
0.60 |
0.60 |
0.60 |